盈丰娱乐

计算机与信息科学盈丰娱乐 行政管理权力运行工作流程图

2021-01-22 15:48 作者:本站编辑 审核: 浏览:

-

-

-

-

计算机与信息科学盈丰娱乐 干部选拔任命工作流程图

计算机与信息科学盈丰娱乐 公章使用工作流程图

计算机与信息科学盈丰娱乐 盖章流程图

计算机与信息科学盈丰娱乐 固定资产购置流程图



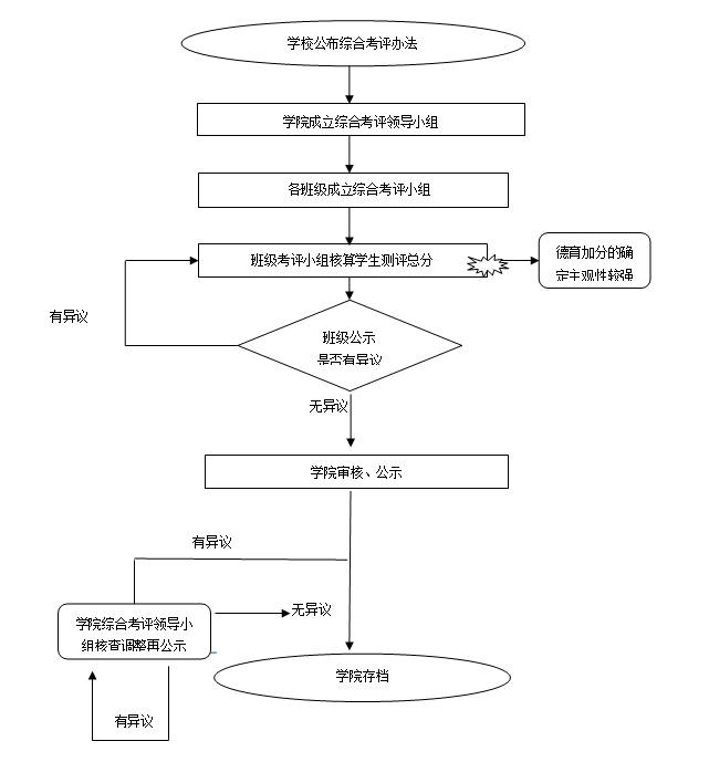
计算机与信息科学盈丰娱乐 学生综合考评流程图